Межгосударственный стандарт
Принят Межгосударственным советом по стандартизации, метрологии и сертификации 4.10.1996 г.
Актуальная версия с изменениями и дополнениями на январь 2011 г.
Содержание:
- Область применения стандарта
- Нормативные ссылки
- Содержание маркировки
- Манипуляционные знаки
- Место и способ нанесения транспортной маркировки
- Размеры маркировочных ярлыков, манипуляционных знаков и надписей
- Дополнительные требования к маркировке грузов, поставляемых на экспорт
- Маркировка, характеризующая транспортную тару
- Порядок расположения транспортной маркировки
- Расположение маркировочных ярлыков
- Размеры манипуляционных знаков и их деталей
- Рекомендуемые очертания шрифта для нанесения маркировки
- Примеры расположения маркировки на грузах, поставляемых на экспорт
- Примеры изображения знака «ленты Мёбиуса»
- Экологические знаки
1. Область применения
Настоящий стандарт устанавливает общие правила маркировки грузов, в том числе поставляемых на экспорт, и предназначен для разработки нормативных документов на продукцию конкретных видов.
Маркировка опасных грузов должна соответствовать требованиям ГОСТ 19433.
Стандарт не распространяется на маркировку, содержащую данные об упакованной продукции, требования к которой должны устанавливаться в нормативных документах на продукцию конкретных видов, а также на маркировку грузов, отправляемых специализированными транспортными средствами, почтовыми посылками насыпью или навалом и насыпью в транспортных средствах.
2. Нормативные ссылки
В настоящем стандарте использованы ссылки на следующие стандарты:
- ГОСТ 9481—2001 Ящики из гофрированного картона для химических нитей. Технические условия
- ГОСТ ИСО/МЭК 16390—2005 Автоматическая идентификация. Кодирование штриховое. Спецификации символики Interleaved 2 of 5 (2 из 5 чередующийся)
- ГОСТ 19433—88 Грузы опасные. Классификация и маркировка
- ГОСТ 26319—84 Грузы опасные. Упаковка
- ГОСТ 30742—2001 (ИСО/МЭК 16388—99) Автоматическая идентификация. Кодирование штриховое. Спецификация символики Code 39 (Код 39)
- ГОСТ 30743—2001 (ИСО/МЭК 15417—2000) Автоматическая идентификация. Кодирование штриховое. Спецификация символики Code 128 (Код 128)
- ГОСТ ИСО/МЭК 15459-1—2008 Автоматическая идентификация. Идентификаторы уникальные международные. Часть 1. Уникальные идентификаторы транспортируемых единиц
- ГОСТ ИСО/МЭК 15459-2—2008 Автоматическая идентификация. Идентификаторы уникальные международные. Часть 2. Порядок регистрации
- ГОСТ 31016—2003 (ИСО/МЭК 15438:2001) Автоматическая идентификация. Кодирование штриховое. Спецификации символики PDF417 (ПДФ417)
3. Содержание маркировки
3.1 Транспортная маркировка должна содержать манипуляционные знаки, основные, дополнительные и информационные надписи.
3.2 Манипуляционные знаки — изображения, указывающие на способы обращения с грузом.
3.3 Основные надписи должны содержать:
- полное или условное зарегистрированное в установленном порядке наименование грузополучателя;
- наименование пункта назначения с указанием, при необходимости, станции или порта перегрузки.
Если пунктом назначения является железнодорожная станция (порт), должно быть указано:
- полное наименование станции (порта) и сокращенное наименование дороги (пароходства) назначения;
- количество грузовых мест в партии и порядковый номер места внутри партии указывают дробью: в числителе — порядковый номер места в партии, в знаменателе — количество мест в партии.
Количество грузовых мест и порядковый номер места следует указывать при перевозке следующих грузов:
- разнородных или разносортных грузов в однотипной таре (например, разные сорта хлопка в кипах);
- однородных грузов в разнотипной таре;
- однородных грузов, когда недопустимо смешение сортов в партии;
- комплектов оборудования;
- грузов в одном вагоне мелкими отправками.
3.4 Дополнительные надписи должны содержать:
Стандарт применяют при разработке и производстве ПУ.
- полное или условное зарегистрированное в установленном порядке наименование грузоотправителя;
- наименование пункта отправления с указанием железнодорожной станции отправления и сокращенное наименование дороги отправления;
- надписи транспортных организаций (содержание надписей и порядок нанесения устанавливаются правилами транспортных министерств).
3.5 Информационные надписи должны содержать:
- массы брутто и нетто грузового места в килограммах. Допускается вместо массы нетто указывать количество изделий в штуках, а также не наносить массу брутто и нетто или количество изделий в штуках, если они указаны в маркировке, характеризующей упакованную продукцию;
- габаритные размеры грузового места в сантиметрах (длина, ширина и высота или диаметр и высота).
Габаритные размеры не указывают, если ни один из габаритных размеров не превышает 1 м при транспортировании груза на открытом подвижном составе, 1,2 м — в крытом и 0,7 м при транспортировании воздушным транспортом.
3.6 При перевозке грузов транспортными пакетами на каждом из них должны быть нанесены основные, дополнительные и информационные надписи. При этом вместо порядкового номера места и количества грузовых мест в партии наносят:
- в числителе — общее количество пакетов в партии;
- в знаменателе — количество грузовых мест в пакете, в скобках порядковый номер пакета,
например 3 / 50
Основные, дополнительные и информационные надписи (кроме массы брутто и нетто) не наносят на отдельные грузовые места, из которых сформирован пакет.
На пакетах, сформированных из грузов, перевозимых без упаковки, необходимость нанесения общего количества пакетов в партии, количества грузовых мест в пакете и порядкового номера пакета устанавливают в нормативных документах на конкретные виды продукции.
3.7 По согласованию между торговыми партнерами и транспортными организациями на упаковку (транспортный пакет), груз может быть нанесена дополнительная маркировка с использованием машиночитаемых носителей данных (символов линейного штрихового кода, двумерных символов, а также радиочастотных меток).
ПРИМЕЧАНИЕ
Указанная маркировка предназначена для автоматизации управленческих операций, связанных с процессами отгрузки, транспортирования и приёмки грузов. Информация на машиночитаемом носителе данных служит ключом для доступа к соответствующей базе данных, содержащей детальную информацию о транспортируемой единице, включая информацию, передаваемую путем электронного обмена данными.
Каждой транспортируемой единице рекомендуется присваивать уникальный идентификатор транспортируемых единиц по ГОСТ ИСО/МЭК 15459-1. Порядок присвоения идентификатора должен соответствовать ГОСТ ИСО/МЭК 15459-2.
3.7.1 Общие требования к оформлению ярлыка (этикетки) для отправки, транспортирования и приёмки грузов с линейными символами штрихового кода и двумерными символами устанавливают в национальной технической документации*.
*
В Российской Федерации действует ГОСТ Р 51294.10—2002.
4. Манипуляционные знаки
4.1 Изображение, наименование и назначение манипуляционных знаков должны соответствовать указанным в таблице 1.
Таблица 1
4.2 Допускается применять предупредительные надписи, если невозможно выразить манипуляционными знаками способ обращения с грузом.
4.3 В рекомендуемое обозначение манипуляционного знака входит номер (номера) знака или наименование знака по таблице 1 и обозначение настоящего стандарта.
5. Место и способ нанесения транспортной маркировки
5.1 Порядок расположения транспортной маркировки приведен в приложении А.
Транспортная маркировка (основные, дополнительные, информационные надписи и манипуляционные знаки) должна быть нанесена на бумажные, картонные, фанерные, металлические и другие ярлыки или непосредственно на тару.
5.2 При транспортировании грузов на открытом подвижном составе, в смешанном железнодорожно- водном сообщении или водным транспортом, а также мелкими отправками, при хранении груза более одного года маркировка должна быть нанесена непосредственно на тару или ярлыки, которые должны быть прочно прикреплены и защищены или изготовлены из материалов, обеспечивающих сохранность маркировки.
5.3 Основные, дополнительные и информационные надписи располагают:
- на ящиках — на одной из боковых сторон. Для решетчатых ящиков и ящиков, имеющих наружные планки, должна быть обеспечена возможность размещения маркировки (прикрепление планок, закрытие просветов между дощечками и др.). При транспортировании на открытом железнодорожном подвижном составе мелкими отправками грузов, на которые нанесен знак, имеющий значение «Верх», транспортная маркировка (кроме наименования грузоотправителя и пункта отправления) должна быть нанесена дополнительно на верхней стороне (крышке) упаковки;
- на бочках и барабанах — на одном из днищ. Допускается наносить маркировку на корпусе;
- на мет ках — в верхней части у шва;
- на тюках — на одной из боковых поверхностей;
- на кипах — на торцовой поверхности. Допускается наносить маркировку на боковую поверхность;
- на других видах тары и грузах, не упакованных в транспортную тару, — в наиболее удобных хорошо просматриваемых местах.
При нанесении маркировки непосредственно на тару (5.2), если размеры и конструкция тары не позволяют разместить необходимую маркировку на боковой стенке, допускается располагать маркировку на боковой, торцовой стенках и (или) на крышке.
Примеры расположения маркировки приведены в приложении Б.
5.4 Допускается на неупакованные изделия наносить маркировку непосредственно на изделие.
5.5 Манипуляционные знаки (предупредительные надписи) наносят на каждое грузовое место в левом верхнем углу на двух соседних стенках тары (см. приложения Б и Д).
На бочках и барабанах знаки располагают на одном из днищ или на корпусах; на мешках — на одной из сторон.
5.5.1 Знак № 9 наносят непосредственно на тару с двух противоположных сторон. Допускается на неупакованные грузы наносить знак № 9 на ярлыки или непосредственно на груз.
5.5.2 Знак № 12 наносят на соседние боковую и торцовую поверхности упаковки на месте проекции фактического центра тяжести груза на эти поверхности.
На грузы, транспортируемые на открытом подвижном составе, знак № 12 дополнительно наносят на верхней и нижней сторонах упаковки.
5.6 На пакеты, сформированные без поддонов или на четырехзаходных поддонах, маркировку наносят на соседние боковую и торцовую поверхности.
На пакеты, сформированные на двухзаходных поддонах, маркировку наносят на двух захватных сторонах.
5.7 Маркировку наносят типографским, литографским, электролитическим способами, окраской по трафарету, штемпелеванием, штампованием, выжиганием, продавливанием, печатанием на машинке, маркировочными машинами.
Допускается на ярлыках четко и разборчиво наносить наименование грузополучателя и пункта назначения, а также на ярлыках и непосредственно на таре — количество грузовых мест и порядковый номер места в партии от руки при условии обеспечения сохранности надписей до получателя.
5.8 Ярлыки прикрепляют к упаковке (грузу) клеем, болтами, шурупами, проволокой, шпагатом и другими материалами, обеспечивающими сохранность груза и маркировки.
5.9 Краска, применяемая для маркировки, не должна быть липкой и стираемой, при необходимости краска должна быть водостойкой, светостойкой, солестойкой и стойкой к воздействию тропического климата, высоких и низких температур.
5.10 Манипуляционные знаки, надписи, экологические знаки должны быть черного цвета. Если цвет поверхности тары (упаковки) такой, что черный цвет не виден, целесообразно применять светлый фон, предпочтительно белый.
Не рекомендуется при маркировании использовать цвета, которые совпадают с цветами маркировки опасных грузов.
Не рекомендуется применять красный, оранжевый и желтый цвета, кроме случаев, если их применение предусмотрено национальными нормативными или техническими документами.
Знак № 1 допускается выполнять красного цвета на светлом фоне при транспортировании груза по железной дороге.
Знак № 6 выполняют голубым цветом на светлом фоне.
Знак № 13 выполняют красным цветом.
Допускается на знаке № 3 не указывать символ дождевых капель.
Допускается наносить манипуляционные знаки с просветами.
5.11 Необходимость нанесения манипуляционных знаков должна быть установлена в стандартах иди других нормативных документах на продукцию.
5.12 Транспортная маркировка (основные, дополнительные и информационные надписи и манипуляционные знаки) должна быть нанесена на каждое грузовое место.
Допускается наносить основные, дополнительные и информационные надписи (кроме масс брутто и нетто) не на всех грузовых местах, но не менее чем на четырех, при перевозке однородных грузов в прямом железнодорожном сообщении повагонными отправками.
Допускается не наносить основные, дополнительные и информационные надписи (кроме масс брутто и нетто) при перевозке грузов автомобильным транспортом и в универсальных контейнерах, кроме автомобилей и контейнеров, загружаемых мелкими отправками.
6. Размеры маркировочных ярлыков, манипуляционных знаков и надписей
6.1 Площадь маркировочного ярлыка должна быть достаточной для нанесения основных, дополнительных и информационных надписей. Рекомендуемое соотношение сторон 2:3.
6.2 Рекомендуемые размеры ярлыков для нанесения манипуляционных знаков указаны в таблице 2.
Таблица 2
Размеры ярлыков и грузовых мест указаны в миллиметрах.
| Номер ярлыка | Размер ярлыка (предельное отклонение + 10 мм) | Размер грузового места (груза) | |
|---|---|---|---|
| Длина или ширина | Высота | ||
| 1 | 52 х 74 | До 1000 включительно | До 190 включительно |
| 2 | 74 х 105 | 1000 | Св. 190 |
| 3 | 105 х 148 | Св. 1000 | — |
| 4 | 148 х 210 | 1500 | — |
ПРИМЕЧАНИЕ
Рекомендуется применять ярлыки размерами 37 х 52 мм, 26 х 37 мм, если размеры грузового места не позволяют применять размеры ярлыков, указанные в таблице 2, при этом размеры манипуляционных знаков выбирают произвольно при условии соблюдения изображения знака.
6.3 Допускается увеличивать размеры ярлыка при совмещении на одном ярлыке нескольких манипуляционных знаков или надписей транспортной маркировки и манипуляционных знаков.
6.4 На ярлыках, изготовленных типографским способом, знак должен быть на расстоянии не менее 5 мм от края ярлыка.
6.5 Рекомендуемые размеры манипуляционных знаков и их деталей, наносимых на ярлыки, непосредственно на тару или изделие, приведены в приложении В.
6.6 Рекомендуемые высоты шрифта для нанесения маркировочных надписей: 3, 6, 8, 10, 15, 30, 50 и 100 мм.
Шрифты высотой 3 и 6 мм не допускается применять при нанесении надписей непосредственно на тару.
6.7 Рекомендуемая высота шрифта для основных надписей, а также надписей транспортных организаций, наносимых непосредственно на тару:
- 30 мм — при длине или ширине грузового места до 0,5 м включительно;
- 50 мм — при длине или ширине грузового места свыше 0,5 до 1,5 м включительно;
- 100 мм — при длине или ширине грузового места свыше 1,5 м.
6.8 Рекомендуемая высота шрифта для дополнительных и информационных надписей, наносимых непосредственно на тару:
- 10 мм — при длине или ширине грузового места до 0,5 м включительно;
- 15 мм — при длине или ширине грузового места свыше 0,5 до 1,5 м включительно;
- 30 мм — при длине или ширине грузового места свыше 1,5 м.
6.9 При невозможности размещения транспортной маркировки непосредственно на упаковке допускается уменьшать высоту надписей и размеры знака на 1—2 градации.
6.10 Шрифт для нанесения маркировки указан в приложении Г.
7. Дополнительные требования к маркировке грузов, поставляемых на экспорт
7.1 Транспортная маркировка грузов, поставляемых на экспорт, должна соответствовать указанной в 7.2—7.4 с дополнениями или изменениями, установленными в заказе-наряде внешнеторгового объединения.
7.2 Основные надписи:
- номер контракта и (или) номер заказа иностранного покупателя;
- номер заказа-наряда;
- номер грузового места — указывается дробью: в числителе — порядковый номер места в партии, в знаменателе — количество мест в партии;
- полное наименование или условное обозначение иностранного грузополучателя;
- наименование пункта назначения с указанием станции или порта перегрузки;
- страна назначения груза*;
- станция и дорога назначения груза*;
- товарные знаки и марки грузоотправителя*.
*
Необходимость нанесения этих надписей предусматривается в заказе-наряде или других нормативных актах внешнеторгового объединения.
7.3 Дополнительные надписи:
- наименование экспортирующей организации — полное или условное;
- пункт отправления груза;
- станция и дорога отправления.
7.4 Информационные надписи:
- габаритные размеры грузового места в сантиметрах;
- массы нетто и брутто в килограммах;
- объём грузового места в кубических метрах;
- надписи «Экспорт», «Страна-изготовитель и (или) поставщик». Не указывают габаритные размеры и объём грузового места при длине, ширине или диаметре до 1 м.
7.4.1 По согласованию с торговыми партнерами и транспортными организациями на каждое грузовое место (упаковку, груз) может быть нанесена машиночитаемая маркировка в соответствии с требованиями ГОСТ ИСО/МЭК 15459-2.
7.4.2 Если машиночитаемая маркировка содержит символы линейного штрихового кода, то при разработке нормативного документа, устанавливающего требования к указанной маркировке, следует учитывать требования ГОСТ 30742, ГОСТ 30743, ГОСТ 31016 и ГОСТ ИСО/МЭК 16390.
7.5 При транспортировании грузов на открытом подвижном составе, в смешанном железнодорожно-водном сообщении или водным транспортом, а также при мелких отправках грузов маркировку наносят непосредственно на упаковку (тару), изделие или ярлыки, которые должны быть прочно прикреплены и защищены или изготовлены из материалов, обеспечивающих сохранность надписей при транспортировании и хранении.
7.6 Транспортную маркировку наносят на каждое грузовое место.
При транспортировании грузов в прямом железнодорожном сообщении повагонными отправками основные и дополнительные надписи наносят не на каждое грузовое место, но не менее чем на десять мест.
При транспортировании грузов автомобильным транспортом и в универсальных контейнерах, кроме автомобилей и контейнеров, загружаемых мелкими отправками, основные и дополнительные надписи не наносят.
7.7 При транспортировании водным транспортом грузов массой свыше 1000 кг дополнительно наносят массу брутто груза в верхнем правом углу на всех четырех сторонах ящика на расстоянии не более 10 см от верхней кромки.
7.8 Знаки № 1 и 11 наносят в левом верхнем углу с четырех сторон.
7.9 Знак № 12 наносят на шесть сторон упаковки на месте проекции фактического центра тяжести груза.
Если форма и размеры упаковки не позволяют нанести знак № 12 на шесть сторон упаковки, допускается наносить знак на меньшее количество сторон, но не менее двух.
7.10 Транспортную маркировку наносят на русском языке и иностранном, указанном в заказе-наряде внешнеторгового объединения (см. пример в приложении Д). При длине или ширине тары до 1 м допускается маркировку наносить на одной из сторон на языке, указанном в заказе-наряде.
7.11 На ящиках или другой таре, имеющей форму параллелепипеда, маркировку наносят на торцовую и боковую стенки.
На грузовых местах, имеющих форму цилиндра, маркировку наносят на основаниях.
Если размеры и конструкция тары не позволяют разместить необходимую маркировку на боковой и торцовой стенках, то маркировку располагают на торцовой и боковой стенках и на крышке.
8. Маркировка, характеризующая транспортную тару
8.1 Содержание маркировки, характеризующей тару:
- товарный знак и (или) наименование предприятия-изготовителя;
- номер тары по нормативному документу;
- обозначение нормативного документа;
- экологический знак по национальному нормативному или техническому документу.
На многооборотную тару должна быть нанесена надпись «Многооборотная».
| Пример: | ![]() | 42 ГОСТ 9481-76. |
8.2 Маркировку, характеризующую тару, кроме мешков, наносит на тару ее изготовитель. Маркировку, характеризующую мешки, указывают на кипах или пачках, в которые упакованы мешки.
Допускается наносить маркировку, характеризующую тару, на ярлыки.
8.3 Маркировку, характеризующую тару, наносят:
- на ящики — в левом верхнем углу торцовой стенки, свободной от маркировки, характеризующей груз;
- на ящиках с обечайкой — на боковой стенке ящика;
- на бочках и барабанах — на одном из днищ, свободном от маркировки, характеризующей груз; допускается наносить маркировку на корпусе;
- на баллонах — на дне.
Место нанесения на канистрах, флягах и других видах транспортной тары устанавливают в нормативных документах на эти виды тары.
8.4 Способы нанесения маркировки тары:
- деревянной — окраской по трафарету, штемпелеванием, выжиганием;
- картонной — типографским способом, штемпелеванием;
- металлической — окраской по трафарету, выдавливанием;
- пластмассовой — маркировка выполняется на пресс-форме.
Маркировка, характеризующая тару, может наноситься специальными маркировочными машинами.
8.5 Высоту шрифта для нанесения маркировки, характеризующей тару, выбирают по 6.6.
8.6 На транспортную тару, предназначенную для упаковывания, транспортирования и хранения опасных грузов, должна быть нанесена маркировка по ГОСТ 26319.
8.7 На тару и упаковку, которые после использования могут быть подвергнуты вторичной переработке, наносят маркировку с применением знака — «лента Мебиуса» в соответствии с требованиями национального нормативного документа*.
*
В Российской Федерации действует ГОСТ Р ИСО 14021—2000.
Примеры изображения знака приведены в приложении Е.
8.8 Допускается наносить на тару экологическую маркировку с применением знаков в соответствии с приложением Ж.

Перевозки опасных грузов
Доставка грузов любого класса опасности.Договор на перевозку, экспедирование,
страхование, таможенное оформление груза.
Специальный транспорт, опытные водители,
спец. разрешения на перевозку...
Пиложение А
Порядок расположения транспортной маркировки

![]() | обязательные надписи |
![]() | допускаемые надписи |
- манипуляционные знаки (предупредительные надписи);
- допускаемые предупредительные надписи (см. 4.2);
- количество мест в партии, порядковый номер внутри партии;
- наименование грузополучателя и пункта назначения;
- наименование пункта перегрузки;
- надписи транспортных организаций;
- объём грузового места*;
- габаритные размеры грузового места;
- масса брутто;
- масса нетто;
- страна-изготовитель и (или) поставщик;
- наименование пункта отправления;
- наименование грузоотправителя
*
Объём грузового места указывается для грузов, предназначенных на экспорт.
Пиложение Б
Расположение маркировочных ярлыков
Рисунок Б.1



Расположение маркировки на транспортном пакете
Рисунок Б.3

Пиложение В
Размеры манипуляционных знаков и их деталей
1. Хрупкое. Осторожно.

Таблица В.1
Размеры знака и его деталей (в миллиметрах)
| В | Ь | Н | h | r | S |
|---|---|---|---|---|---|
| 24 | 10 | 64 | 38 | 12 | 3 |
| 36 | 15 | 95 | 54 | 18 | 5 |
| 52 | 20 | 138 | 80 | 26 | 7 |
| 76 | 25 | 200 | 115 | 38 | 10 |
2. Беречь от солнечных лучей
Рисунок В.2

Таблица В.2
Размеры знака и его деталей (в миллиметрах)
| В | Н | h | h1 | h2 | b | b1 | d | S | b2 |
|---|---|---|---|---|---|---|---|---|---|
| 40 | 56 | 42 | 16 | 11 | 16 | 16 | 8 | 2 | 8 |
| 60 | 80 | 60 | 20 | 15 | 20 | 20 | 12 | 3 | 10 |
| 92 | 115 | 85 | 28 | 21 | 28 | 28 | 16 | 4 | 14 |
| 135 | 165 | 120 | 40 | 30 | 40 | 40 | 24 | 6 | 20 |
3. Беречь от от влаги
Рисунок В.3

Таблица В.3
Размеры знака и его деталей (в миллиметрах)
| В | Н | h1 | h2 | h3 | R | r | S |
|---|---|---|---|---|---|---|---|
| 33 | 64 | 32 | 42 | 44 | 21 | 4 | 2 |
| 50 | 95 | 40 | 50 | 53 | 28 | 6 | 3 |
| 80 | 138 | 58 | 73 | 77 | 45 | 9 | 4 |
| 113 | 200 | 84 | 110 | 115 | 66 | 13 | 5 |
4. Ограничение температуры
Рисунок В.4

Таблица В.4
Размеры знака и его деталей (в миллиметрах)
| С | Н | C1 | b | b1 | b2 | b3 | b4 | b5 | b6 | S |
|---|---|---|---|---|---|---|---|---|---|---|
| 10 | 64 | 2,0 | 18 | 3,0 | 24 | 10 | 2,0 | 4,0 | 8,0 | 2,0 |
| 14 | 95 | 3,0 | 27 | 4,0 | 34 | 14 | 2,0 | 6,0 | 10,0 | 3,0 |
| 20 | 136 | 4,0 | 38 | 6,0 | 48 | 20 | 3,0 | 8,0 | 14,0 | 4,0 |
5. Беречь от излучения
Рисунок В.5

Таблица В.5
Размеры знака и его деталей (в миллиметрах)
| B | Н | h | h1 | S |
|---|---|---|---|---|
| 31 | 64 | 15 | 8 | 3 |
| 43 | 95 | 21 | 11 | 4 |
| 59 | 138 | 29 | 15 | 5 |
| 82 | 200 | 40 | 21 | 7 |
6. Скоропортящийся груз
Рисунок В.6

Таблица В.6
Размеры знака и его деталей (в миллиметрах)
| B | b | b1 | H | h | a |
|---|---|---|---|---|---|
| 42 | 18 | 3 | 64 | 19 | 3 |
| 64 | 28 | 4 | 95 | 29 | 4 |
| 95 | 42 | 5 | 138 | 43 | 5 |
| 138 | 63 | 8 | 200 | 64 | 6 |
7. Герметичная упаковка
Рисунок В.7

Таблица В.7
Размеры знака и его деталей (в миллиметрах)
| D | b | b1 | h | S | S1 |
|---|---|---|---|---|---|
| 42 | 10 | 2 | 12 | 3 | 1,0 |
| 64 | 20 | 2 | 28 | 4 | 1,5 |
| 94 | 28 | 3 | 40 | 5 | 2,0 |
| 138 | 38 | 4 | 54 | 8 | 2,0 |
8. Крюками не брать
Рисунок В.8

Таблица В.8
Размеры знака и его деталей (в миллиметрах)
| B | H | A | r | r1 | S |
|---|---|---|---|---|---|
| 40 | 64 | 16 | 6 | 5 | 3 |
| 59 | 95 | 26 | 8 | 9 | 4 |
| 88 | 138 | 40 | 13 | 14 | 6 |
| 138 | 200 | 56 | 20 | 18 | 10 |
9. Место строповки
Рисунок В.9

Таблица В.9
Размеры знака и его деталей (в миллиметрах)
| H | A | A1 | D | R | b | b1 | b2 | R1 | B |
|---|---|---|---|---|---|---|---|---|---|
| 60 | 12 | 12 | 21 | 3,0 | 2,0 | 2,0 | 3,0 | 4,0 | 18 |
| 95 | 18 | 16 | 30 | 4,0 | 2,0 | 3,0 | 4,0 | 6,0 | 26 |
| 125 | 26 | 24 | 44 | 6,0 | 2,0 | 5,0 | 6,0 | 9,0 | 36 |
| 200 | 38 | 36 | 62 | 9,0 | 3,0 | 7,0 | 8,0 | 13,0 | 50 |
10. Здесь поднимать тележкой запрещается
Рисунок В.10

Таблица В.10
Размеры знака и его деталей (в миллиметрах)
| B | b | b1 | b2 | H | h | d | S | S1 | A | Длина или ширина груза |
|---|---|---|---|---|---|---|---|---|---|---|
| 74 | 60 | 21 | 17 | 125 | 5 | 8 | 2 | 6 | 31 | До 1000,0 |
| 105 | 84 | 28 | 24 | 175 | 7 | 16 | 3 | 7 | 43 | Свыше 1000,0 |
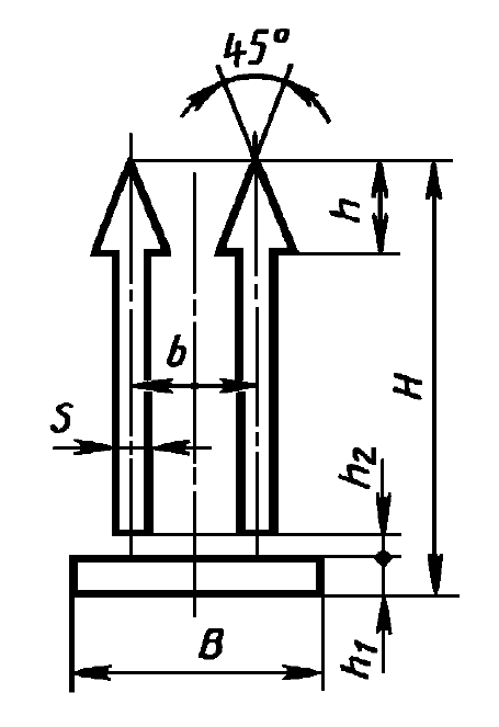
11. Верх
Рисунок В.11

Таблица В.11
Размеры знака и его деталей (в миллиметрах)
| B | b | H | h | h1 | h2 | S |
|---|---|---|---|---|---|---|
| 38 | 19 | 64 | 13 | 1 | 4 | 5 |
| 56 | 27 | 95 | 19 | 9 | 5 | 7 |
| 80 | 38 | 138 | 28 | 12 | 6 | 10 |
| 112 | 55 | 200 | 40 | 17 | 7 | 15 |
12. Центр тяжести
Рисунок В.12

Таблица В.12
Размеры знака и его деталей (в миллиметрах)
| B | D | d | S |
|---|---|---|---|
| 42 | 20 | 12 | 4 |
| 64 | 28 | 16 | 6 |
| 94 | 36 | 20 | 8 |
| 138 | 54 | 30 | 12 |
13. Тропическая упаковка
Рисунок В.13

Таблица В.13
Размеры знака и его деталей (в миллиметрах)
| D | D1 | S | b | b1 | h |
|---|---|---|---|---|---|
| 42 | 38 | 2 | 9 | 3 | 9 |
| 64 | 56 | 3 | 13 | 4 | 13 |
| 94 | 82 | 4 | 23 | 5 | 23 |
| 138 | 122 | 6 | 33 | 8 | 33 |
14. Штабелировать запрещается
Рисунок В.14

Таблица В.14
Размеры знака и его деталей (в миллиметрах)
| B | b | H | S | S1 |
|---|---|---|---|---|
| 42 | 30 | 64 | 2 | 4 |
| 64 | 43 | 95 | 3 | 6 |
| 95 | 63 | 138 | 4 | 8 |
| 138 | 92 | 200 | 6 | 10 |
15. Поднимать непосредственно за груз
Рисунок В.15

Таблица В.15
Размеры знака и его деталей (в миллиметрах)
| H | B | h | h1 | h2 | h3 | b | b1 | b2 | a | a1 | a2 | a3 | S | S1 | c | c1 |
|---|---|---|---|---|---|---|---|---|---|---|---|---|---|---|---|---|
| 33 | 60 | 25 | 21 | 17 | 4 | 42 | 8 | 13 | 10 | 3 | 9 | 7 | 2 | 1 | 5 | 1 |
| 51 | 92 | 39 | 33 | 26 | 6 | 64 | 12 | 20 | 15 | 5 | 14 | 11 | 3 | 11 | 8 | 2 |
| 77 | 134 | 57 | 48 | 39 | 9 | 94 | 18 | 29 | 22 | 7 | 20 | 16 | 5 | 2 | 11 | 3 |
| 112 | 198 | 88 | 73 | 56 | 14 | 138 | 25 | 42 | 33 | 12 | 30 | 24 | 6 | 2 | 17 | 4 |
16. Открывать здесь
Рисунок В.16

Таблица В.16
Размеры знака и его деталей (в миллиметрах)
| B | H | h |
|---|---|---|
| 64 | 42 | 14 |
| 95 | 64 | 21 |
| 138 | 95 | 30 |
| 200 | 138 | 43 |
17. Защищать от радиоактивных источников
Рисунок В.17

Таблица В.17
Размеры знака и его деталей (в миллиметрах)
| H | B | h | D | b | b1 | d | S |
|---|---|---|---|---|---|---|---|
| 42 | 64 | 49 | 21 | 14 | 14 | 8 | 3 |
| 64 | 95 | 75 | 33 | 20 | 21 | 10 | 5 |
| 95 | 138 | 108 | 47 | 35 | 30 | 15 | 7 |
| 138 | 200 | 155 | 69 | 50 | 44 | 22 | 0 |
18. Не катить
Рисунок В.18

Таблица В.18
Размеры знака и его деталей (в миллиметрах)
| B | b | b1 | H | h | S | R |
|---|---|---|---|---|---|---|
| 42 | 20 | 10 | 64 | 5 | 3 | 18 |
| 64 | 30 | 15 | 85 | 10 | 5 | 27 |
| 95 | 40 | 20 | 125 | 15 | 8 | 40 |
| 138 | 70 | 30 | 170 | 20 | 10 | 60 |
19. Штабелирование ограничено
Рисунок В.19

Таблица В.19
Размеры знака и его деталей (в миллиметрах)
| B | b | b1 | b2 | H | h | h1 | S |
|---|---|---|---|---|---|---|---|
| 32 | 24 | 12 | 6 | 64 | 10 | 10 | 4 |
| 47 | 40 | 20 | 10 | 95 | 18 | 15 | 5 |
| 68 | 52 | 26 | 13 | 138 | 26 | 20 | 8 |
| 100 | 80 | 40 | 20 | 200 | 40 | 30 | 10 |
20. Зажимать здесь
Рисунок В.20

Таблица В.20
Размеры знака и его деталей (в миллиметрах)
| B | b | b1 | H | h | h1 | S |
|---|---|---|---|---|---|---|
| 64 | 32 | 10 | 42 | 25 | 14 | 2 |
| 95 | 39 | 16 | 57 | 35 | 20 | 4 |
| 140 | 60 | 22 | 95 | 50 | 25 | 6 |
| 200 | 90 | 31 | 138 | 70 | 40 | 8 |
21. Не зажимать
Рисунок В.21

Таблица В.21
Размеры знака и его деталей (в миллиметрах)
| B | b | b1 | H | h | h1 | S | S1 |
|---|---|---|---|---|---|---|---|
| 64 | 26 | 10 | 42 | 25 | 14 | 3 | 4 |
| 95 | 39 | 16 | 64 | 35 | 20 | 4 | 5 |
| 138 | 50 | 23 | 95 | 50 | 25 | 7 | 9 |
| 200 | 68 | 33 | 138 | 70 | 40 | 11 | 11 |
22. Предел по количеству ярусов в штабеле
Рисунок В.22

Таблица В.22
Размеры знака и его деталей (в миллиметрах)
| B | b | H | S | S1 |
|---|---|---|---|---|
| 35 | 19 | 64 | 2 | 4 |
| 50 | 28 | 96 | 3 | 5 |
| 60 | 36 | 138 | 6 | 9 |
| 100 | 55 | 200 | 10 | 11 |
23. Вилочные погрузчики не использовать
Рисунок В.23

Таблица В.23
Размеры знака и его деталей (в миллиметрах)
| B | b | b1 | b2 | H | h | S | S1 | d | d1 | C |
|---|---|---|---|---|---|---|---|---|---|---|
| 100 | 15 | 15 | 45 | 75 | 40 | 7 | 4 | 15 | 20 | 4 |
| 130 | 20 | 20 | 60 | 100 | 50 | 10 | 5 | 20 | 30 | 5 |
Пиложение Г
Рекомендуемые очертания шрифта для нанесения маркировки
Рисунок Г.1

Рисунок Г.2

Рисунок Г.3

Пиложение Д
Примеры расположения маркировки на грузах, поставляемых на экспорт

* Товарный знак объединения и место его расположения на таре или ярлыке.

Организация ВЭД
Внешнеторговый контракт, таможенное оформление,доставка грузов автомобильным, железнодорожным и морским транспортом
в любую точку мира.
Пиложение Е
Примеры изображения знака «ленты Мёбиуса»



Пиложение Ж
Экологические знаки

Автомобильные грузоперевозки
Доставка грузов автомобильным транспортомв любую точку России и континента.
Договор на перевозку груза, экспедирование,
страхование, сертификация, таможенное оформление грузов...
Ответственность наших экспедиторов застрахована!
Услуги транспортной компании
- Автомобильные грузоперевозки
- Таможенное оформление грузов
- Перевозка сборных грузов
- Перевозка опасных грузов
- Перевозка негабаритных и тяжеловесных грузов
- Мультимодальные перевозки грузов
- Морские контейнерные перевозки
- Экспедирование грузов
- Страхование грузов
- Сертификация груза на экспорт
- Организация ВЭД
- Консультации участников ВЭД
Международные грузоперевозки
Доставка грузов из стран СНГ, Азии, Балтии, Восточной Европы и Евросоюза.
Справочник →

Транспортные документы
Грузосопроводительные документы для международных перевозок и таможенного оформления грузов.

Фуры / трейлеры
Типы, габариты, грузоподъёмность еврофур, стандартных грузовых полуприцепов и автопоездов для автомобильных грузоперевозок.

Грузовые контейнеры
Типы, габариты, грузоподъёмность, маркировка контейнеров, применяемых в современной логистике и международных перевозках.

Маркировка грузов
Манипуляционные, экологические знаки, транспортная тара, нанесение транспортной маркировки.

Классификация опасных грузов
Положения ДОПОГ / ADR, касающиеся перевозки отдельных классов опасных грузов, изделий, веществ.

ТН ВЭД
Товарная номенклатура внешнеэкономической деятельности ЕАЭС: коды товаров, пояснения.

ИНКОТЕРМС
Международные торговые термины, условия поставки товаров, ответственность покупателя и поставщика.
Грузосопроводительные документы
- Договор поставки товара
- Договор на перевозку груза
- Транспортная накладная CMR
- Инвойс, проформа-инвойс
- Экспортная декларация EX-1
- Транзитная декларация T-1
- Сертификат происхождения товара
- Сертификат соответствия
- Сертификат соответствия Техническим регламентам Таможенного союза (ТРТС)
- Фитосанитарный сертификат
- Kак правильно оформить путевой лист?
























































